大小单双正规平台

单双大小平台

返回顶部

当前位置:首页 > 企业舆情

泰通金服实控人刘电新涉非吸案已自首,去年刚获评山东社会责任企业家

发布时间 : 2024-03-18 浏览量 : 8469
3月17日,警方通报山东泰通金服非法吸收公众存款案侦查情况:43人被采取刑事强制措施。

2024年3月6日,山东泰通金服发展集团有限公司(下称“泰通金服”)实际控制人刘电新到泰安市公安局高新技术产业开发区分局投案自首。公安机关当日以非法吸收公众存款案立案侦查。案件侦办工作正在依法有序推进,有关情况通报如下:


(一)公安机关先后对刘电新等43名犯罪嫌疑人采取刑事强制措施。对现已查明的涉案资产均已依法查封、扣押、冻结。下一步,公安机关将加大工作力度,坚决维护集资参与人合法权益。

(二)现初步查明,刘电新等犯罪嫌疑人注册成立并实际控制700余家公司。其中大量公司属于空壳公司,无实际经营业务,仅用于非法吸收公众存款。刘电新等犯罪嫌疑人还存在利用山东华通融资担保有限公司(下称“华通融担”)进行非法担保、非法吸收公众存款行为。

通报内容显示 ,请广大集资参与人依法表达诉求,不信谣、不传谣,不参与非法聚集活动。对散布谣言、非法聚集、寻衅滋事等扰乱社会秩序的违法犯罪行为,公安机关将依法追究法律责任。同时,希望广大知情群众积极举报有关犯罪线索。

天眼查显示,泰通金服成立于2021年12月,法定代表人为李凯,注册资本为1亿人民币,实缴资本为114万人民币,参保人数共116人。泰通金服对外投资了中企瑞满仓(山东)数智科技有限公司,持股60%。

还有一家“泰安市泰通金服信息服务有限公司”,法定代表人为刘兆亭,该公司的注册地址与上述泰通金服的注册地址一致。

通报内容指出,泰通金服的实控人是刘电新。据天眼查,此前泰通金服的法定负责人为彭忠帅。目前,工商信息显示泰通金服的三名高管分别为李凯(执行董事兼总经理)、高玉乾(监事)、郭雅静(财务负责人)。

其中,李凯还任职于黑龙江省宝泉岭农垦钱稻佳农作物种植农民专业合作社、黑龙江省宝泉岭农垦鑫君辉农机专业合作社,是两家公司的股东和高管。

2023年11月28日,泰通金服接受抽查检查,结果为合格,未发现问题终止检查并向监管对象告知检查结果。

天眼查显示,有一名同名为“刘电新”、且任职公司注册地址多在山东,任职公司高度关联泰安市的人。

这位同名为“刘电新”的人,是山东华通控股集团、华通国际控股集团、山东华通大健康产业园、山东泰通健康产业集团、山东泰通大健康产业园、泰安市汶兴建筑安装工程分公司、泰安市汶兴建筑安装工程分公司等机构的法定代表人,亦是泰安市泰山区泰通小额贷款有限公司的董事。

另外,其名下最大的山东华通控股集团的注册地址在山东省泰安高新区。


天眼查显示,同名为“刘电新”的人,亦是泰安市泰山区新的社会阶层人士联谊会的法定代表人,该公司地址与泰通金服地址高度接近。而华通建设发展集团旗下公司高管刘少荣的公司亦在泰通金服附近。

天眼查显示,名为“刘电新”的人在泰安市还有多个公司,包括泰安华通美术馆、泰安市年轻一代企业家商会等。而华通集团本身是中国民营企业500强上榜企业,也是山东民营企业百强。资料显示,刘电新本人更是担任山东省工商联副主席。

公开资料显示,山东华通集团成立于2014年6月,注册资本1.6亿元,总部位于泰安高新区,对外投资万泰医药、华通文化、舜华装饰等企业。华通控股官网显示,集团集健康产业、重工装备、建设安装产业于一体,构建了华通健康、华通重工、华通建设三大产业集团。

为了确认上述“刘电新”是否就是此次涉案的犯罪嫌疑人刘电新,蓝鲸财经拨打了华通集团多家公司的年报备案电话。最终,在该同名者的“华通系”旗下某公司所留的年报电话中,一名女士向蓝鲸财经确认:“我并非在这家公司上班,只是他们曾经借了我的名字和电话去用,所以你能找到我。虽然没人通知我刘电新被抓,但我听说(刘电新)被抓这个事儿了,也报过警正在等回复,因为这个事儿和我没关系。”

公开信息显示,2023年1月,“2022山东社会责任企业”、“2022山东社会责任企业家”两大榜单正式揭晓。华通控股集团荣获“2022山东社会责任企业”,集团董事长刘电新荣获“2022山东社会责任企业家”,其本人还担任山东省工商联副主席。

值得注意的是,刘电新还是山东民营联合投资控股股份有限公司的监事,该公司的大股东为万达控股。

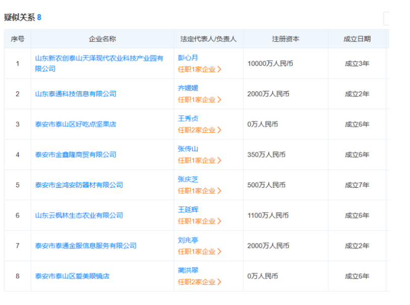
天眼查显示,与泰通金服有疑似关系的企业共8家,不是与泰通金服备案了相同的电话就是备案了相同的地址。


另外,通报中披露的被泰通金服利用的“山东华通融资担保有限公司”,情况也十分古怪。

华通融担成立于2009年3月,法定代表人为刘岱祥,注册资本在2022年从1亿增加到3亿人民币,参保人数为20人。2022年,华通融担经历过高层变动,刘电新退出了华通融担的董事行列。2023年10月,该公司在经历抽查检查后,其结果为“发现问题待后续处理”,到11月,变成了“未发现问题终止检查并向监管对象告知检查结果”。


3月12日,华通融担6000万人民币的股权发生了公示冻结股权。

华通融担历史上共6次被列为被执行人,收到一次限制消费令。天眼查显示历史被执行总金额为2217.84万元。

山东泰通金服发展集团常年发行金融产品,年收益在8%以上,已经发行了数十年,此前社交媒体上已有多位投资者留言称已发生逾期,该公司募集规模在上百亿。暴雷后,泰通金服已被立案。

来源:蓝鲸财经




主管单位:大小单双正规平台

主办单位:大小单双网址平台

学术支持:大小单双平台

技术支持:湖南红网新媒科技发展有限公司

Baidu
map