大小单双正规平台

单双大小平台

返回顶部

当前位置:首页 > 企业舆情

史玉柱,又被执行!

发布时间 : 2023-10-08 浏览量 : 1908

又是帮忙惹了祸?

 

天眼查显示,近日,史玉柱、北海宏泰投资有限公司(下称“宏泰投资”)新增一则被执行人信息,执行标的17.6亿余元,执行法院为北京金融法院。

 

上海证券报记者注意到,史玉柱此次成为被执行人,对其中本金9.92亿元、利息1.08亿元及相应违约金,承担连带保证责任。

 

类似情况已有发生。918日,巨人投资有限公司(下称“巨人投资”)新增一则股权冻结信息,被执行人为史玉柱,冻结股权数额1.14亿元,执行法院为北京金融法院。

 

921日,巨人集团马全智发微博回应,“1.14亿元人民币股权冻结”是史玉柱帮朋友担保引起的事,会妥善处理。

 

史玉柱一直颇具争议,百亿身家却自称“屌丝”,微博ID名为“史玉柱大闲人”。201912月召开巨人集团30周年庆典晚会时,史玉柱说:“这30年中,我们不欠任何一家银行的钱,没有拖欠。”

 

如今,史玉柱给别人“帮忙”,反倒多次被“拖下水”。

 

偿还本金约9.92亿元

 

案件结果显示,史玉柱“对第一项判决所确认的全部债务、第三项判项所确认部分律师费916666.7元、部分诉讼财产保全责任保险费456161.4元承担连带保证责任”。

 

北京金融法院的第一项判决为,宏泰投资在判决生效之日起十日内,向中国民生信托有限公司(下称“民生信托”)偿还本金约9.92亿元,利息约1.08亿元。

 

同时,宏泰投资截至2021716日(含)的违约金约425.33万元,2021716日之后的违约金以约11亿元为基数,按年利率13.5%计算至全部款项实际支付之日止。

 

第二项判决为,宏泰投资在判决生效之日起十日内,向中国民生信托有限公司偿还本金约2.31亿元,利息3017.86万元。

 

同时,宏泰投资截至2021716日(含)的违约金约139.46万元,2021716日之后的违约金以约2.61亿元为基数,按年利率13.5%计算至全部款项实际支付之日止。

 

第三项判决为,宏泰投资于本判决生效之日起十日内,向中国民生信托有限公司支付律师费110万元、诉讼财产保全责任保险费547393.73元。

 

此前称妥善处理

 

史玉柱帮忙惹祸,在近期密集出现。

 

天眼查显示,918日,史玉柱旗下巨人投资有限公司新增一则股权冻结信息,被执行人为史玉柱,冻结股权数额约1.14亿元,执行法院为北京金融法院。

 

921日,巨人集团发言人马全智发微博回应,“1.14亿元人民币股权冻结”是史玉柱帮朋友担保引起的事,会妥善处理。

 

股权冻结是指法院通过限制股权所有者,提取或转移自己股权的一种强制措施,防止股权收益不当流失。

 

记者注意到,“喜欢帮忙”的史玉柱,此前多次因为“帮忙”导致所持公司股权被冻结。

 

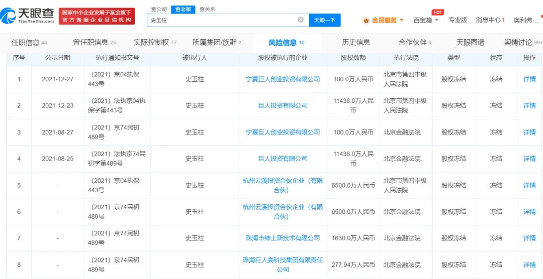
其中,202112月,史玉柱旗下约1.98亿元企业股权遭冻结,包括巨人投资、杭州云溪投资合伙企业(有限合伙)、珠海巨人高科技集团有限责任公司、珠海市绅士新技术有限公司4家公司股权,执行法院均为被北京市第四中级人民法院。

 

彼时,巨人集团对外发声,股权冻结主要是史玉柱曾经帮助别人做担保导致,属于其个人行为,与巨人网络、黄金搭档等巨人集团旗下公司无关系。

 

巧合的是,史玉柱同一时间在个人微博发布动态称:“帮朋友忙,多帮生活,少帮事业。”

 

当前再次出现股权冻结、被执行人信息,史玉柱又该如何妥善处理?

 

“大闲人”早有悔意

 

公开资料显示,自从巨人集团旗下公司上市后,运营主要由团队负责,史玉柱逐渐退居二线,整天“不务正业”,胡吃海喝,交了100多个男性朋友。

 

史玉柱在微博的ID名为“史玉柱大闲人”。《2023胡润全球富豪榜》显示,史玉柱、史静父女,以320亿元财富位列榜单第636位。

 

“我们巨人集团是不找朋友借钱的,也不找朋友担保。”史玉柱此前提到:“我一在酒桌上一喝,好,给这个人借钱,给那个人担保,这么一算十几年损失了好多钱。”

 

巨人集团由史玉柱一手打造,最早从自主研发的巨人汉卡业务起步,创造的品牌包括巨人汉卡、脑白金、黄金搭档、征途、球球大作战等。

 

其中,巨人集团在2004年进入互联网文化娱乐产业,并成立了巨人网络,截至928日市值约260亿元。

 

不过,史玉柱在2021年底,已经发微博直言“不要给朋友做担保!”

 

来源:上海证券报

主管单位:大小单双正规平台

主办单位:大小单双网址平台

学术支持:大小单双平台

技术支持:湖南红网新媒科技发展有限公司

Baidu
map